Alphabet is wrangling mosquitoes, Apple’s bendy phone and other patents from Big Tech.
Another week in lockdown has passed, and while the present might still feel quite uncertain, the future looks as zany as ever, at least as far as patents go. Alphabet is trying to trap mosquitoes, Amazon wants you to buy stuff off of your TV screen, Apple is getting in on the flexible phone trend, and Microsoft is trying to figure out your heart health from your camera.
And remember: The big tech companies file all kinds of crazy patents for things, and though most never amount to anything, some end up defining the future.
A mosquito wrangler
On the surface, it might seem odd that Alphabet is winning patents for storing and separating out mosquitoes by sex, but then again, it’s 2020, so anything goes these days. In reality, it’s a patent from Verily, the company’s life-sciences arm, which has actually been looking at ways to kill off disease-spreading mosquitoes for a while now. This machine can apparently determine the sex of a bug as it grows up, then only release one sex so that the insects continue to exist in the world, but without the ability to reproduce. So maybe if we ever get out of this pandemic, we’ll be able to solve another possible one.
A floating VR keyboard
The next Great American Novel is going to be written by someone standing up, holding some drumsticks, tapping away on a virtual keyboard while wearing a VR headset. I’m … not entirely sure that’ll be the case, but if the art in this patent from Google is anything to go off of, that’s at least something someone somewhere believes. Typing in VR is pretty difficult right now, as it generally involves pointing controllers at letters floating in front of you (for a better idea on how to solve this, read on!), but apparently Google’s solution is to use physical items like drumsticks or other pointy objects to help tap on specific keys in front of your face. Other than an old, blind John Milton reciting the entirety of “Paradise Lost” to his daughters to transcribe, I can’t think of a setup less conducive to writing an epic story than this.
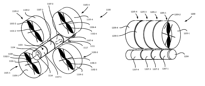
Transformable drones
This patent idea from Amazon seems to have two uses for its burgeoning drone-delivery service. It outlines drones that can change shape when they’re flying to increase their efficiency, for better thrust or speed, depending on the situation. But it also seems like it’d be useful for storing these drones; the patent shows how they could be folded up into a nice little cylinder. That could be useful for when Amazon’s flying machines are blanketing the world.
Packaging for suits
Transporting suits, or other dress clothes, can be an absolute hassle even when you own them, let alone when they’re shipped to you from an online store. Amazon, however, seems to have come up with a rather neat solution that sees the suit or dress wrapped in plastic on a hanger and then folded around a cardboard box. This would keep the clothes about as wrinkle-free as a garment bag would, while also putting them into something that’s easy to ship. Shame I won’t be needing any new nice clothes anytime soon.
Buying what you see on TV
Remember when products at the store would be labeled with “As Seen on TV?” It called your mind back to when you were sitting around with nothing to do on a Saturday afternoon and leaving various infomercials play in the background while you ate a sandwich. But what if you could just call out to your TV and tell it to buy what you’re looking at? That’s apparently what Amazon is thinking about with its new patent. Using computer vision, and presumably Alexa-enabled devices all around your home, a system would let you say, “Alexa, buy me that Slap Chop” and it’d add it to your cart. Because who wants to get up off the couch and go to Bed, Bath & Beyond?
A flexible phone
Like every other major smartphone manufacturer, Apple seems to at least be exploring what a device with a flexible, foldable display might look like. What’s interesting about the interpretation in this patent, though, is that Apple seems to have realized one of the largest problems with touchscreen devices that are all-screen (like its phones and iPads now are!) is that there’s not really anywhere to hold them that you can’t accidentally interact with the screen. In this patent Apple gets around that problem by having housing material on the edges of the device, with the screen folding or rolling out from them, like some sort of ancient scroll with handles.
Tiny keycaps
Apple seems allergic to making computer keyboards feel like keyboards. There was the whole butterfly switch scandal that lasted the better part of a decade, only for Apple to finally capitulate and admit its clacky, often broken keyboards weren’t great by releasing … slightly better ones. But this patent suggests it’s looking for ways to reduce the thickness of keys, although hopefully still giving them some amount of travel so they feel like keys and not stickers slapped on a piece of aluminum where keys are supposed to go.
Gesturing at virtual assistants
One of the most awkward parts of using voice assistants is constantly having to say their name as a wake word while talking. If there’s anyone other than yourself around, it can start to sound extremely strange. Facebook might have a solution, at least in the world of VR. In its new patent, Facebook outlines a system that could track your hands while in VR, and if you make certain predefined hand gestures, it would activate the voice assistant or perform other functions. So instead of having to say, “Hey Siri” 50 times in an hour, you’ll just have to look like you’re playing shadow puppets with yourself:
Using magnetic fields for VR inputs
And Facebook is also thinking about how to actually track your hands in VR. Many modern systems rely on oddly shaped controllers to interact with their devices, but unless you’re playing a shooting or painting game, they tend to feel awkward. This patent outlines using magnetic fields, and magnets placed on your hands, to track the motion of your appendages in VR. Instead of taping magnets to your hand like a very strange human being (which, I’m sorry, that was my first thought when looking at the art), the patent suggests embedding them in something like a thin set of gloves. I’m so excited to pretend that I’m in “Minority Report” in the future.
Perfect GIFs
GIFs have become the communication language of the internet, but the pixelated repeating images struggle in many situations because the file sizes can be so massive. GIFs are often small or grainy to cut down on their heft, but Microsoft is apparently exploring ways to make them lighter. It works by essentially only adding parts of new frames that have changed from previous frames, rather like an animator swapping out cels in a cartoon, reducing how much information is needed to loop the GIF. I can’t wait to use my favorite GIF in glorious high definition.
Using AI to track your heart rate on camera
Microsoft has been pioneering camera-sensing technology for a while now — the Kinect camera was able to noninvasively detect your heart rate — but it seems it’s interested in taking things up a notch. It has a new patent for using cameras and AI to create “ballistocardiography”: a measurement of the force of blood pumped by a heart, which is a less-used way to study the health of one’s heart. It could potentially be a stand in for devices like the ECG monitors that Apple has put in its wearables, although the jury seems to be out on whether it’s an effective measurement compared to other techniques. Still beats putting on a blood-pressure monitor, though.
Via Protocol.com










